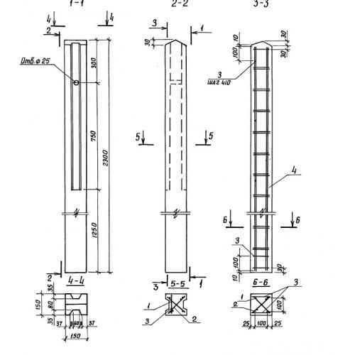
СО
Характеристики изделия:
| Параметр | Значение |
|---|---|
| длина | 2300 мм |
| ширина | 150 мм |
| высота | 150 мм |
| вес | 120 кг |
| серия | ТП 501-7-014.91 |
Цена:
Рассчитать стоимостьСО Стойки ограждения по серии ТП 501-7-014.91.
| Параметр | Значение |
|---|---|
| длина | 2300 мм |
| ширина | 150 мм |
| высота | 150 мм |
| вес | 120 кг |
| серия | ТП 501-7-014.91 |
СО Стойки ограждения по серии ТП 501-7-014.91.
