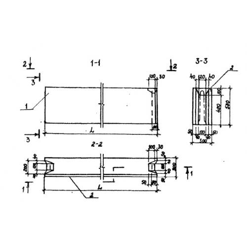
ФБС 24.3.6

Чертеж изделия:
Характеристики изделия:
ПараметрЗначение
длина2380 мм
ширина300 мм
высота580 мм
вес975 кг
серияТП 501-07-5.84

ФБС 24.3.6  Фундаментные блоки стеновые по проекту ТП 501-07-5.84.