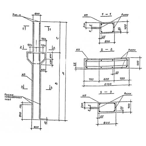
КК 84

Чертеж изделия:
Характеристики изделия:
ПараметрЗначение
длина9450 мм
ширина400 мм
высота2100 мм
вес8100 кг
Шифр2021-164.1

КК 84 Колонны по Шифру 2021-164.1.