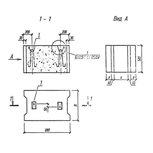
ФБС 9.2.6

Чертеж изделия:
Характеристики изделия:
ПараметрЗначение
длина880 мм
ширина200 мм
высота580 мм
масса235 кг
нормативный документСерия Б 1.016.1-1

ФБС 9.2.6  Фундаментные блоки сплошного сечения по Серии Б 1.016.1-1.