ВБК-2.6

Чертеж изделия:
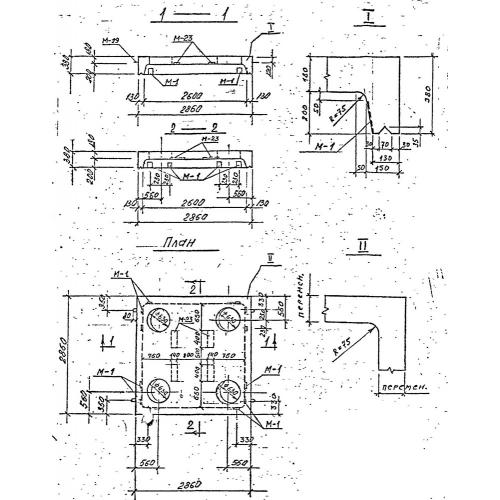
Характеристики изделия:
ПараметрЗначение
длина2860 мм
ширина2860 мм
высота380 мм
масса3950 кг
нормативный документСерия 3.903 КЛ-13

ВБК-2.6 Блоки камеры верхние по Серии 3.903 КЛ-13.