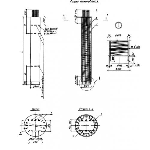
БСВ 8.40

Чертеж изделия:
Характеристики изделия:
ПараметрЗначение
длина4000 мм
ширина800 мм
высота800 мм
вес5100 кг
серия3.503.1-102

БСВ 8.40 Блоки столбов верхних по серии 3.503.1-102.