Б 1.143

Чертеж изделия:
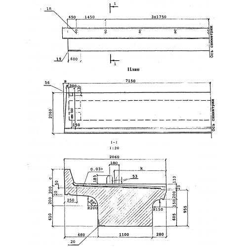
Характеристики изделия:
ПараметрЗначение
длина14300 мм
ширина2060 мм
высота1780 мм
вес36000 кг
серия3.501.1-175.93

Б 1.143 Балки ребристые с ненапрягаемой арматурой по серии 3.501.1-175.93.