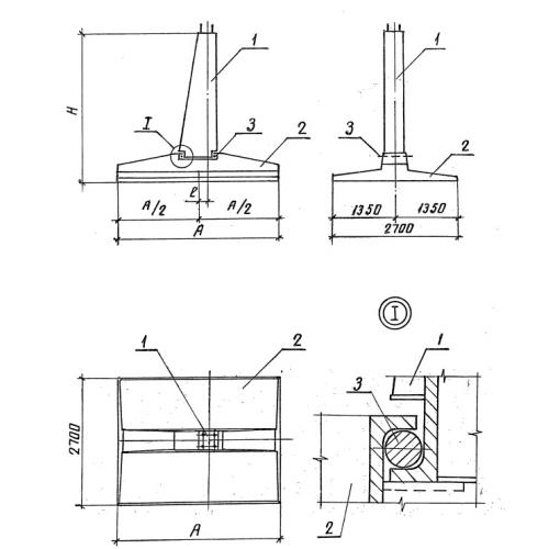
ФП 2.7-2.7 Фундамент составной
Характеристики изделия:
| Параметр | Значение |
|---|---|
| длина | 2700 мм |
| ширина | 2700 мм |
| высота | 5200 мм |
| масса | 6900 кг |
| нормативный документ | Серия 3.407.1-144 |
Цена:
Рассчитать стоимостьФП 2.7-2.7 Фундаменты под анкерно-угловые опоры повышенные по Серии 3.407.1-144.
