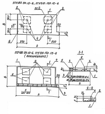
ПТУ 210.120.12 плиты лотков
Характеристики изделия:
| Параметр | Значение |
|---|---|
| длина | 2060 мм |
| ширина | 1180 мм |
| высота | 120 мм |
| масса | 690 кг |
| нормативный документ | Серия 3.006.1-8 |
Цена:
Рассчитать стоимостьПТУ 210.120.12 Плиты перекрытия каналов угловые Серия 3.006.1-8.