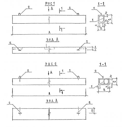
БСу 78.4

Чертеж изделия:
Характеристики изделия:
ПараметрЗначение
длина7800 мм
ширина180 мм
высота380 мм
вес1334 кг
серия1.126 КР-1

БСу 78.4 Сборные балки по серии 1.126 КР-1.