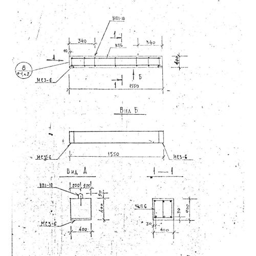
Б 16

Чертеж изделия:
Характеристики изделия:
ПараметрЗначение
длина1550 мм
ширина400 мм
высота400 мм
вес610 кг
серия1.125 КЛ-3

Б 16 Балки по серии 1.125 КЛ-3.