ПК 26.15

Чертеж изделия:
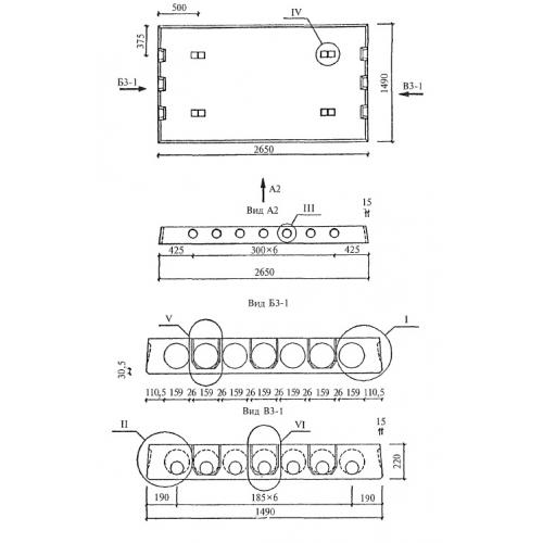
Характеристики изделия:
ПараметрЗначение
длина2650 мм
ширина1490 мм
высота220 мм
масса1200 кг
нормативный документСерия 1.041.1-5

ПК 26.15  Многопустотные плиты перекрытий межвидового назначения (Серия 1.041.1-5).

Плиты длиной 2650 мм и шириной 1490 мм связевые, рядовые с арматурой из стали классов  A-III  и Bp-I из тяжелого бетона.