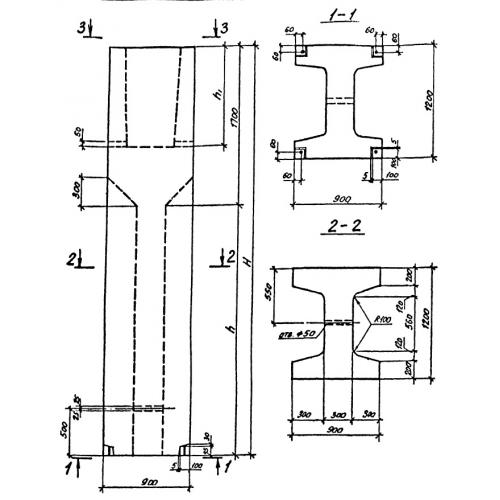
ВБ 9.12.18

Чертеж изделия:
Характеристики изделия:
ПараметрЗначение
длина900 мм
ширина1200 мм
высота1790 мм
вес4100 кг
серия0-221-84

ВБ 9.12.18 Блоки-стаканы верхние по серии 0-221-84.